애플과 브로드컴이 칼텍 특허를 침해한 사실이 인정된다고 판결 애플 와이파이 특허소송 졌다 수조원 벌금 위기 미국 연방대법원 칼텍과 소송 상고신청 기각 특허권 개념도
예전 애플빠인 똘똘한 지인으로부터 안드로이드폰과는 다르게 아이폰이 와이파이가 좋다고 자랑한 적이 있다. 당시 그게 무슨 상관일까 생각했다. 그런 거라면 걔들 말고 안드로이드폰도 잘 만들지 않을까? 싶었던 것이다. 그렇거나 말거나, 아이폰은 사용하지 않고 있다. 그런데, 애플도 불법으로, 특허를 잘못 사용해서 손해를 보게 되었다니 안타깝다. 알고 했다면 그건 더 나쁜 것일테고, 애플빠가 자랑할만한 기술이 이렇게 정당한 비용을 지불하지 않고 사용했다는 거는, 애플빠에게는 대한 모독이 아닐까 싶다.
사실 영혼을 갈아넣었다 해도 폰은 폰이다. 서로 갈아넣은 량이 얼마인지 모를 것이고, 양쪽 다 갈아넣은 영혼을 꺼내 사용하고 있는 거고, 영혼 갈아넣은 이는 충분한 또는 적절한 보상을 받았을 것이라 생각한다. 이렇게 불법으로 상대의 특허를 침해한 칩셋을 사용할 결정을 하지 않았어요 한다는 생각이 든다.
이게 모두 폰의 가격에 알게 모르게 스며들게 되어있다. 결론은 별 상관이 없다는 것이다. 그래서 더 열심히 팔아야 할지도 모르겠다. 많이 판매해야 비용이 적절히 녹아들어 손해가 손해가 아니게 될 수 있기 때문일 것이다.
특허를 제대로 사용해서 폰을 만든다면 결국 아무것도 못할 수도 있지 않을까 하는 우려를 금할 수 없다. 기술이 발전하지만, 곧 새로운 기술이 나올 것이고, 또 뒤에서 뒤통수 치면서 소송을 벌이는 기업들이 나오게 될 것이다. 이런 것까지 원가에 포함시켜 뒀을 것이라 본다.
애플, 와이파이 특허소송 졌다…수조원 벌금 위기
미국 연방대법원, 칼텍과 소송 상고신청 기각
김익현 미디어연구소장
입력 :2023/06/27 14:08 수정: 2023/06/27 14:20
애플이 캘리포니아 공과대학(칼텍)과의 와이파이 특허 소송에서 사실상 패소했다. 이에 따라 수 십억 달러에 이르는 배상금을 지불할 위기에 처했다.
미국 연방대법원이 26일(현지시간) 애플과 브로드컴이 칼텍을 상대로 제기한 특허소송 상고 신청을 기각했다고 애플인사이더를 비롯한 주요 외신들이 보도했다.

(사진=씨넷)
이번 소송은 칼텍이 지난 2016년 애플과 브로드컴을 제소하면서 시작됐다. 당시 칼텍은 브로드컴 칩셋이 IRA/LDPC 코드와 관련된 특허권을 도용했다고 주장했다.
1심에선 칼텍이 완승했다. 캘리포니아 중부지역법원 배심원들은 2020년 애플과 반도체 업체 브로드컴에 각각 8억3천780만달러(약 1조900억원)와 2억7천20만달러(3천500억원) 배상금을 지급하라고 평결했다.
그러자 애플과 브로드컴은 곧바로 항소했다. 하지만 특허 소송 전문 법원인 연방순회항소법원도 지난 해 2월 애플과 브로드컴이 칼텍 특허를 침해한 사실이 인정된다고 판결했다.
다만 특허 침해 배상액은 다시 산정하라며 사건을 돌려보냈다. 이에 따라 양측은 올 여름 배상액 산정을 놓고 또 다시 공방을 벌일 전망이다.
■ 2016년 칼텍 제소로 시작…IRA/LDPC 코드 관련 특허가 쟁점
칼텍은 2016년 브로드컴 칩셋이 IRA/LDPC 코드와 관련된 특허권을 도용했다고 주장하면서 소송을 제기했다.
쟁점이 된 코드는 좀 더 간단한 암호 회로를 활용해 데이터 전송비율과 품질을 향상시켜주는 역할을 한다. 이 기술들은 많은 애플 제품들이 사용하고 있는 802.11n과 802.11ac 와이파이 표준에 널리 활용되고 있다.

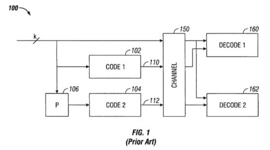
애플을 제소한 칼텍의 와이파이 관련 특허권 개념도. (사진=미국 특허청)
칼텍은 지난 2006년부터 2012년 사이에 이 특허를 취득했다.
소송의 핵심 쟁점은 브로드컴 칩셋이 칼텍 특허권을 침해했는지 여부였다. 하지만 애플은 아이폰 등에 브로드컴 칩셋을 사용하면서 함께 특허 침해 소송에 휘말리게 됐다.
칼텍은 애플이 특허 침해 사실을 알면서도 사용해 막대한 금전 피해를 입혔다고 주장했다.
특허 침해 대상 제품도 꽤 넓다. 일단 아이폰은 5이후 2016년 제소 당시까지 모든 모델이 특허 침해를 했다고 주장했다. 아이패드 역시 미니2 이후 제품들을 문제 삼았다. 또 맥북에어와 애플 워치까지 거의 모든 애플 제품이 특허를 침해했다고 칼텍이 주장했다.
애플은 애플워치를 비롯해 아이폰, 아이패드, 맥 등에 802.11ac를 지원하는 브로드컴 칩을 사용하고 있다.
애플은 지난 2012년 이후 3년 동안 브로드컴 전체 매출의 14.6%, 13.3%, 14.0%를 차지할 정도로 중요한 고객이다.
김익현 미디어연구소장 기자
https://zdnet.co.kr/view/?no=20230627140254